当前位置:首页 > 新闻资讯 > FPGA之家动态 >

专注人工智能软件及Fpga芯片开发,目前没涉及军事应用相关项目

时间:2026-04-09      来源:FPGA_UCY 关于我们 0

集微网消息,2月10日,帆声科技发布关于纳入“未经核实名单”公告函称,企业一直恪守合规运营的原则,严格遵守生产经营活动所涉及相关国家和地区的法律法规,目前没有涉及军事应用相关项目。公司自成立以来专注工业领域人工智能软件及Fpga芯片开发,是上海市人工智能企业,掌握先进的工业视觉检测及电测技术,尊重知识产权,自主研发核心技术。

高新技术人工智能企业工业视觉检测技术_工业领域人工智能软件FPGA芯片开发_FPGA开发

帆声科技表示,公司将持续跟进,根据后续发展情况,有最新消息会及时公布。

资料显示,帆声科技成立于2012年,是一家专注于工业领域的人工智能软件及FPGA芯片开发,是高新技术人工智能企业,掌握先进的工业视觉检测及电测技术制造产业升级,为客户提供一站式检测解决方案的高新技术企业。目前公司产品及服务涵盖于液晶、材料、半导体、汽车、医药、食品、等众多领域。

FPGA开发_工业领域人工智能软件FPGA芯片开发_高新技术人工智能企业工业视觉检测技术

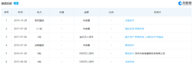
据天眼查显示,2015年至2019年,帆声科技完成了多轮融资,投资方包括沣盈资本、国虹投资、君度投资、直方资产、上海知识产权基金、秉鸿资本、深圳市前海睿银投资有限公司等。

据帆声科技官网披露,2022年1月3日,帆声科技奠基典礼在浙江省姚庄经济开发区隆重举行。

FPGA开发_高新技术人工智能企业工业视觉检测技术_工业领域人工智能软件FPGA芯片开发

未来,帆声科技会在嘉善姚庄设立“浙江帆声科技有限公司”、“浙江帆声智创智能科技有限公司”及“浙江帆声菲默光电科技有限公司”,为高端图像检测设备的研发、制造及相关产品提供服务。并从事Display及半导体设备等领域开发和技术服务,以及Mini LED Repair、电子、3C行业、半导体、SIP相关等业务。此次项目规划用地面积约为25亩,总建筑面积4.05万平方米。项目预计总投资不低于5亿元,厂房计划建设工期1年半。(校对|日新)


注明:本内容来源网络,不用于商业使用,禁止转载,如有侵权,请来信到邮箱:429562386ⓐqq.com 或联系本站客服处理,感谢配合!

用户登陆

    未注册用户登录后会自动为您创建账号

提交留言